想了解设备资料?报价?售后?请留言,速回电
厂家直销,留言立享本月优惠价免费提供环保政策、办厂手续、投资预算等资料
随着资源开采的深化,国内目前更加重视非金属选矿的研究,尤其是非金属选矿技术工艺及设备的优化成为了研究。就以高岭土来说,目前国内在其选矿工艺技术上已经有了很大进步。在高岭土选矿工艺中,常用的主要有干法工艺和湿法工艺两种。一般硬质的高岭土采用干法生产,软质采用湿法生产。

干法工艺是一种简单经济的加工工艺,采出的原矿经过破碎机碎到25mm左右后,给人笼式破碎机中,使粒度减小到6mm左右,吹入到笼式破碎机内的热空气将高岭土的水分由采出时的20%降到10%左右,碎后的矿石则经配有离心分离机和旋风除尘器的吹气式雷蒙磨进一步磨细。该工艺可将大部分砂石除去,干法加工的高岭土产品性质往往反映天然高岭土的原有性质,因此干法生产适用于白度高、砂含量低、粒度分布适宜的矿石,干法生产的成本低,产品通常用于橡狡、塑料及造纸工业的低价填料。下图为实际的应用举例。
.jpg)
湿法工艺包括矿石准备、选矿加工和产品处理3个阶段。
1、准备阶段
准备阶段包括配料、破碎和捣浆等作业。捣浆是将高岭土与水、分散剂混合在捣浆机内制浆,捣浆的目的是使高岭土原矿碎散,为选矿作业制备成适当细度的高玲土矿浆,并同时去掉大粒的砂石。
2、选矿加工
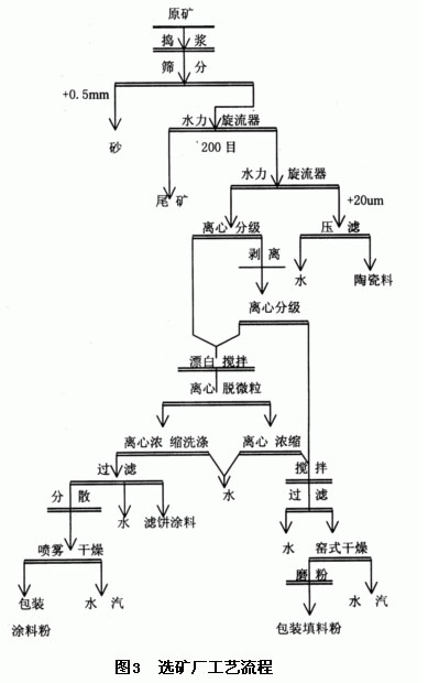
选矿阶段可能包括水力分级、浮选、选择性絮凝、磁选、化学处理(漂白)等作业,以除去不同的杂质。准备好的矿浆可先经耙式分级机、浮格分级机或水力旋流器除砂,然后再用连续式离乙机、水力旋流器、水力分选器或振动细筛(325目)将其分为粗细两个粒级,如果此种产品已能满足某种工业的要求,也可以加人絮凝剂(例如明矾)使高岭土凝聚而便于脱水。如需得到高质量的高岭土(如白度大于85%的高岭土),在绝大多数情况下需要进行磁选、漂白、浮选或选择性絮凝。下图为具体的生产工艺流程图:
.jpg)
1、 破碎设备:颚式破碎机
2、 粉碎设备:锤式破碎机
3、 磨粉设备:雷蒙磨粉机
4、 超细粉磨设备:球磨机
5、 干燥设备:烘干机
6、 煅烧设备:回转窑
由于不同地区的高岭土性质上存在很大的差异,所以在工艺及设备选择上也有很大的不同,所以,我公司将根据物料的性质为客户合理设计高岭土选别工艺及生产线设备配置,从而保证这类非金属矿选别质量。
河南郑州高岭土选矿设备免费咨询热线:0371-67772626
想了解设备资料?报价?售后?请留言,速回电
厂家直销,留言立享本月优惠价免费提供环保政策、办厂手续、投资预算等资料
3分钟前 高先生:时产200吨制砂机报个价,处理鹅卵石
8分钟前 李先生:移动式破碎机怎么解决粉尘问题?
13分钟前 徐女士:需要制砂机,南宁能看制砂现场吗?
16分钟前 程先生:破碎生产线出个方案及报价,有什么售后服务?
22分钟前 郑女士:想了解时产500吨锤破,加工石灰石
31分钟前 吴先生:成套石头破碎设备有吗?给个详细产品资料
36分钟前 罗先生:每小时100吨左右的鄂破和反击破,推荐下型号
42分钟前 梁先生:膨润土磨到200目,用什么磨粉设备?
提交留言我们会第一时间回复您!
该设备通过浮选的方式来选别矿石物料中的铜、金等金属物质,适用于铜矿、金矿石、铁矿石等金属矿石的浮选分离,目前,被广泛用于选金设备和选银设备,浮选效果好,广受用户欢迎,下面我们就来详细了解浮选机的具体情况。
2018-05-21电石渣是工业生产过程中产生的废渣,是固体废弃物的一种,长期大量的堆积会对环境及人体带来严重的危害。因此,研究对电石渣的综合利用及深加工,实现其附加价值有着重要的意义。本文就电石渣的综合利用技术进行分析研究。
2015-01-06白钨矿的选别主要采用浮选法,一般分为两个阶段即粗选和精选段。白钨精选工艺目前主要有:(1)加温法;(2)731氧化皂常温浮选法(731常温法)。
2014-06-23由于弱磁性矿物(如赤铁矿、褐铁矿、菱铁矿、黄铁矿等)的磁性弱,可以利用磁化焙烧的方法将它们变成强磁性铁矿物(磁铁矿或赤铁矿),然后利用弱磁选的方法回收。本文将对弱磁性矿物的磁化焙烧工艺进行介绍。
2014-05-17在湿法超细粉碎后,需要进行脱水,过滤是常用的方法,可将料浆水分降到18%~25%左右。本文主要介绍在湿式超细粉碎中应用的一些过滤设备。
2013-07-29我公司生产的钢球煤磨机、风扫煤磨机、双进双出煤磨机是火力发电站四大辅机之一,是煤粉制备系统的主题设备,主要用于煤粉磨各种硬度的煤炭。同时也适用于水泥、冶金、化工等行业的煤炭及矿石原料制粉系统。下面分别介绍各类型磨机的性能与特点。
2012-08-14